

【產品簡介】
該旋振篩整機為不銹鋼材質,直徑為1000mm,出料口為50mm的圓管,方便客戶的連接使用,適用于對出料口尺寸有特殊要求的客戶。
免費獲取報價
全國統一銷售熱線
	1000型三層不銹鋼旋振篩簡介:
1000型三層不銹鋼旋振篩出料口做成直徑為50mm的圓管,方便客戶連接其他設備。它是一種高精度細粉篩分機械,工作原理是由直立式電機作激振源,電機上、下兩端安裝有偏心重錘,將電機的旋轉運動轉變為水平、垂直、傾斜的三次元運動,再把這個運動傳遞給篩面。調節上、下兩端的相位角,可以改變物料在篩面上的運動軌跡,由于其振動運轉原理很多企業也稱之為“三次元振動篩分過濾機”,根據外形結構被部分客戶稱呼為圓形篩。
	
		1000型三層不銹鋼旋振篩細節展示:
 
 
1000型三層不銹鋼旋振篩特點: 
	
		☆ 效率高、設計精巧耐用,粉類、粘液均可篩分。
☆ 換網容易、操作簡單、清洗方便。
☆ 網孔不堵塞、粉末不飛揚、可篩至400目或0.028mm。
☆ 雜質、粗料自動排出,可以連續作業。
	
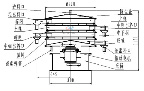
1000型三層不銹鋼旋振篩結構圖:
		
 
	
旋振篩廠家—大漢振動機械可特殊制造多種類型的旋振篩:
		
 
 
 
 
 
	
奶粉的篩選離不開振動篩設備,一般廠家建議選擇不銹鋼旋振篩...
篩分面粉一般選擇的振動篩是不銹鋼旋振篩,而其價格一直是用...
大漢醫藥不銹鋼旋振篩價格: 500045000 醫藥不銹鋼旋振篩整機采...
不銹鋼旋振篩采用304不銹鋼材質,耐磨性、耐腐蝕性能好,篩分...
Copyright ? 2007-2020 新鄉市大漢振動機械有限公司 版權所有
All Rights Reserved 備案序號:豫ICP備09002479號-15